產地類別 國產
帶立輥跑偏開關PXA-02GKH-20-30-A特價促銷皮帶輸送帶上保護開關, 兩級跑偏開關安裝和調整 1.跑偏開關設在輸送帶兩側,立輥應與輸送帶邊平面垂直,并使輸送帶兩邊位于立輥高度1/3處。 2.跑偏開關立輥與輸送帶正常位置的間距宜為50~100mm。 3.跑偏開關數量應根據輸送機長度、類型及布置情況進行確定。兩級跑偏開關一般應在輸送機頭部、尾部、凸弧段、凹弧段和在輸送機中間位置進行設置。(注:當輸送機較長時,在輸送機中間位置可每隔30~35米設1對) 4.跑偏開關應通過安裝支架與輸送機中間架連接,開關支架應在輸送機安裝完成后與輸送機機架焊接,跑偏開關與跑偏開關支架用螺栓固定。,當膠帶,皮帶輸送機發生異常運行進,通過本開關可以給以給皮帶,膠帶輸送發出停機型號以防止事故的進一步擴大,本開關因安裝方便,響應快,使用壽命長,等優點,現已在各業各業都有應用到,常見應用領域電力,礦用,碼頭,輸送機在運行中,當皮帶跑偏且與開關立輥接觸時,立輥自轉,若跑偏量繼續加大,則擠壓立輥發生偏移。一級開關信號用于報警,如果將此信號與跑調整裝置相接,即可實現不停機狀態下的跑偏自動調整。二級兩級跑偏開關信號用于停機,將此信號接至控制線路中,即可實現重度跑偏狀態下的自動停機。當故障排除后,膠帶離開立輥正常運轉時,立輥可自動復位。,鋼廠等。
【詳細說明】
山東限時特賣卓信牌帶立輥跑偏開關PXA-02GKH-20-30-A特價促銷
兩級跑偏開關用于常規皮帶輸送機:地下、索道支撐皮帶輸送機:輪船裝卸系統;堆垛/取料輸送機;傾斜和梭式輸送機;起重機、挖掘機,起重臂限位:裙邊給料機/輸送機:重型極限開關檢測膠帶的跑偏量,是實現膠帶機控制的自動和停機的保護裝置。廣泛用于冶金、煤炭、水泥建材、采礦、電力、港埠、冶金、化工等領域的各種帶式輸送設備。

天津現貨發原裝品質優良帶立輥跑偏開關PXA-02GKH-20-30-A特價促銷
結構特點說明:
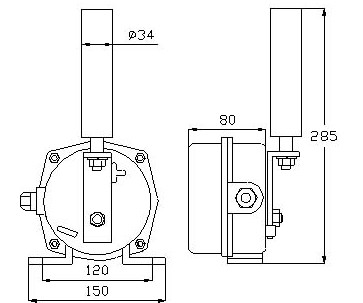
&miot;通用的安裝設計可使防偏開關隨意安裝在輸送機縱梁頂部或底部
&miot;堅固的鑄鋁外殼,防護標準NEMA4,DDP-LJ2兩級跑偏開關適用于皮帶輸送機,能使皮帶輸送機在皮帶跑偏將導致嚴重掛邊磨損甚至發生撕裂事故前就發出報警信號以及進一步的自動停車。 能及時有效的保護設備安全、避免事故擴大化,達到保障生產、保護設備的目的。另外由于信號可發送至控制系統,方便實現工廠自動化控制,因此又可達到減員增效,集中控制,利于生產與調度的目的。,特殊的環境可選特殊的表面處理
&miot;整體式蓋板易于接線及調整
&miot;不需拆除動作桿就可拆掉蓋板
&miot;動作桿軸承額定轉速5000轉/分,適用皮帶速度可達6.35米/秒
&miot;動作桿法向角調節范圍為22.5?
&miot;法向夾角為10度時觸點動作,法向夾角為之20度時停機觸點動作。
技術參數
極限角度:70度
觸點容量:AC380V
觸點數量:兩常開兩常閉
可靠性:>10度
復位方式:自動
防護等級:IP65
重量:3.5Kg
大連生產性價比優良

山東圖爾克有限公司生產發各類傳感器產品規格達上萬個規格:
Hall IC霍爾開關、霍爾元件、兩級跑偏開關、雙向拉繩開關、速度監測器、皮帶打滑開關、阻旋料位、皮帶縱向撕裂開關、礦用磁性井筒開關、傾斜開關,溜槽堵塞、聲光器、限位開關、行程開關、電梯開關、電梯稱重傳感器,防爆電磁閥線圈、齒輪傳感器、耐高溫無源反饋傳感器、冷熱金屬傳感器、速度旋轉監測傳感器,速度傳感器、接近傳感器、光電傳感器、無觸點磁性開關、防爆磁性接近開關、皮帶輸送裝置控制柜,等工控電器、接近開關、光電開關,磁性開關、拉繩開關、跑偏開關、打滑開關
兩極跑偏開關 限位開關/微動開關;型號規格:EBBS-80EBS(1-125,250VAC,1/2A-125VC IP67 S
跑偏開關立輥 限位開關/微動開關,型號規格:用于PXA-02GKH-20-30-A
雙向拉繩開關(皮帶急停開關) 開關,型號規格:LXA-01GKH-T1/A,材質:鋁合金(替代
ZNCZ磁致伸縮液位計
ZNTEKTR10溫度變送器
SF/FP連桿浮球液位開關
SCF側裝浮球液位開關
CPF/CSF電纜浮球液位開關
UQK系列浮球液位
LSF浮球連續式液位計
葉片式流動開關
K系列滾珠式氣動振動器
GT系列氣動轉輪振動器
R系列滾軸式振動器
P-3422氣蝶(P型破拱氣蝶、助流氣蝶)
ZH/AH/SK系列空氣錘
SK系列空氣錘
P系列活塞式振動器
Copyright © 山東卓信機械有限公司 版權所有 魯ICP備12019670號
全國服務電話:0537-2839666 傳真:0537-2228358 百度地圖 打滑開關
公司地址:山東省濟寧高新經濟技術開發區 音叉開關