JPC-3A膠帶跑偏KBW-220p跑偏控制器工廠直供
由于產品型號眾多,我司各種電氣規格型號齊全,有任何需求可以與我公司銷售人員聯系,生產各種規格型號的跑偏開關、拉繩開關、傾斜開關、打滑開關、失速開關、溜槽堵塞開關、聲光報警器、限位開關、磁性開關、撕裂開關、料流開關等產品,產品適用范圍廣,用途多,產品銷售國內外100多個國家和地區,銷售電話:15163766288(微信同號)
JPC-3A膠帶跑偏 兩級跑偏開關 防偏開關
一、概述
膠帶跑偏,跑偏開關起帶式輸送現場的保護作用,因此必須達到指定的IP防護等級。 兩級跑偏開關分兩個位置檢測輸送機皮帶的跑偏程度和扭曲程度。根據皮帶的跑偏程度和扭曲程度,實現自動報警和停機,避免昂貴的輸送皮帶受損壞及因皮帶扭曲造成的物料散落等事故。此開關安裝方便,運行可靠,是帶式輸送機必備的保護裝置之一。,主要使用在帶式輸送機上對膠帶運行進行檢測,當膠帶發生跑偏時,自動發出警示及停車信號,避免事故的發生。本公司綜合同類產品的優點開發出JPC-3A型跑偏,以其性能可靠、安裝簡單、維修方便等優點,深受用戶好評。JPC-3A膠帶跑偏生產-山東卓信電氣有限公司產品優勢:
1生產實力龐大,直銷,性價比高
10年專注氣動行業,集研發、制造、銷售為一體。
省去中間環節,使用與安裝:防偏開關可固定在輸送機縱梁頂部或底部,動作桿距皮帶邊緣約25mm。通常安裝在皮帶兩側距頭部或尾部0.3-2米的地方。當皮帶跑偏時,迫使動作桿偏離,觸動報警開關。兩級跑偏開關如果繼續偏離,觸動別一組開關,輸送機就會保護性停機。,周期短,交付快,借款期長。
2引進國際化*的生產裝備和制造工藝
采用硬質氧化處理的鋁合金缸筒,不斷創新進步滿足客戶需求
自主研發生產,兩級跑偏開關適用范圍 兩級跑偏開關用于常規皮帶輸送機:地下、索道支撐皮帶輸送機:輪船裝卸系統;堆垛/取料輸送機;傾斜和梭式輸送機;起重機、挖掘機,起重臂限位:裙邊給料機/輸送機:重型極限開關檢測膠帶的跑偏量,是實現膠帶機控制的自動報警和停機的保護裝置。兩級跑偏開關廣泛用于冶金、煤炭、水泥建材、采礦、電力、港埠、冶金、化工等領域的各種帶式輸送設備。,擁有一整套完善的產品開發制造的核心技術
3團隊不斷創新發展,保障產品品質
品質保障期長達12個月,讓您毫無后顧之憂
產品廣泛應用于多個行業,深受合作伙伴的支持與信賴
4 售后網絡覆蓋,全程跟蹤式服務
從售前,售中,售后全程24小時服務,快速響應
售后服務保障,發貨速度快;質量問題包退、換
二、產品特點
本產品采用鋁合金壓鑄而成,強度高、重量輕、耐腐蝕。本產品采用全封閉結構,防雨、防塵,適合露天安裝。
本產品設有跑偏后的顯示裝置,為尋找輸送機故障提供方便。本產品當膠帶跑偏使立輥偏轉角≥20&orm;時即發警報信號,如繼續跑偏使立輥偏轉≥35&orm;時即發送停車信號。
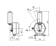
三、產品結構簡圖及參數
技術參數:
1.觸點容量:AC 380 V,,警示角:&plun;20⪚,停車角:≥35⪚;
2.使用環境:海撥高度低于2000米,環境溫度:-35℃~+50℃,相對濕度:不大于95,大氣壓力:80-100KPa;
3.防護等級:IP65。
HJC-201偏斜開關
HJC-201A偏斜開關
HJC-201B偏斜開關
HJC-201S偏斜開關
HJC-201SA偏斜開關
HJC-201SB偏斜開關
HJC-301拉繩開關
HJC-301A拉繩開關
HJC-301B拉繩開關
HJC-301拉繩開關
HJC-301A拉繩開關
HJC-301B拉繩開關
HJC-302拉繩開關
HJC-115傾斜開關
HJC-125傾斜開關
HJC-135傾斜開關
HJC-115SS傾斜開關
HJC-115HW傾斜開關
HJC-118傾斜開關
HJC-102傾斜開關
HJC-501傾斜開關
![]() |









